Ball steering rings
Ball steering rings
Price information
List price446,91 €
Internet price291,36 €
Price incl. VAT*
EAN: 4250269234548
*All prices are incl. tax and do not include shipping costs. The specified web price is only valid in this web shop. Our staff won't be able to grant the same conditions for standard orders.
Price level: 04.22.2026
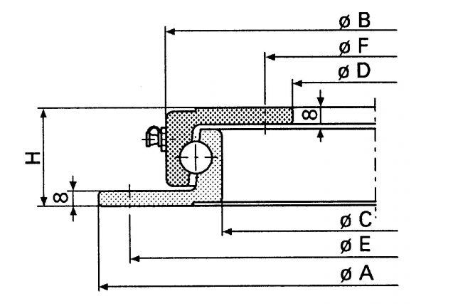
Jost Ball Steering Ring
Series N
The steering ring is without drill holes, you can simply drill them yourself with a drill.
Please note:
Ball steering rims must not be welded on!
Before first use, fill completely with grease.
For heavy farm trucks and light truck trailers over 30 km/h












